Korzystając z tej witryny, wyrażasz zgodę na używanie plików cookie zgodnie z naszą Polityką prywatności.
Radziejów, Polska
Pon.-Pt.: 8:00 - 17:00

Dejonizator F56 - listwa antystatyczna 200cm

Drukuj
Wysokoefektywny dejonizator - listwa antystatyczna do eliminacji ładunków elektrostatycznych
listwa z generatorem l
F56 montage
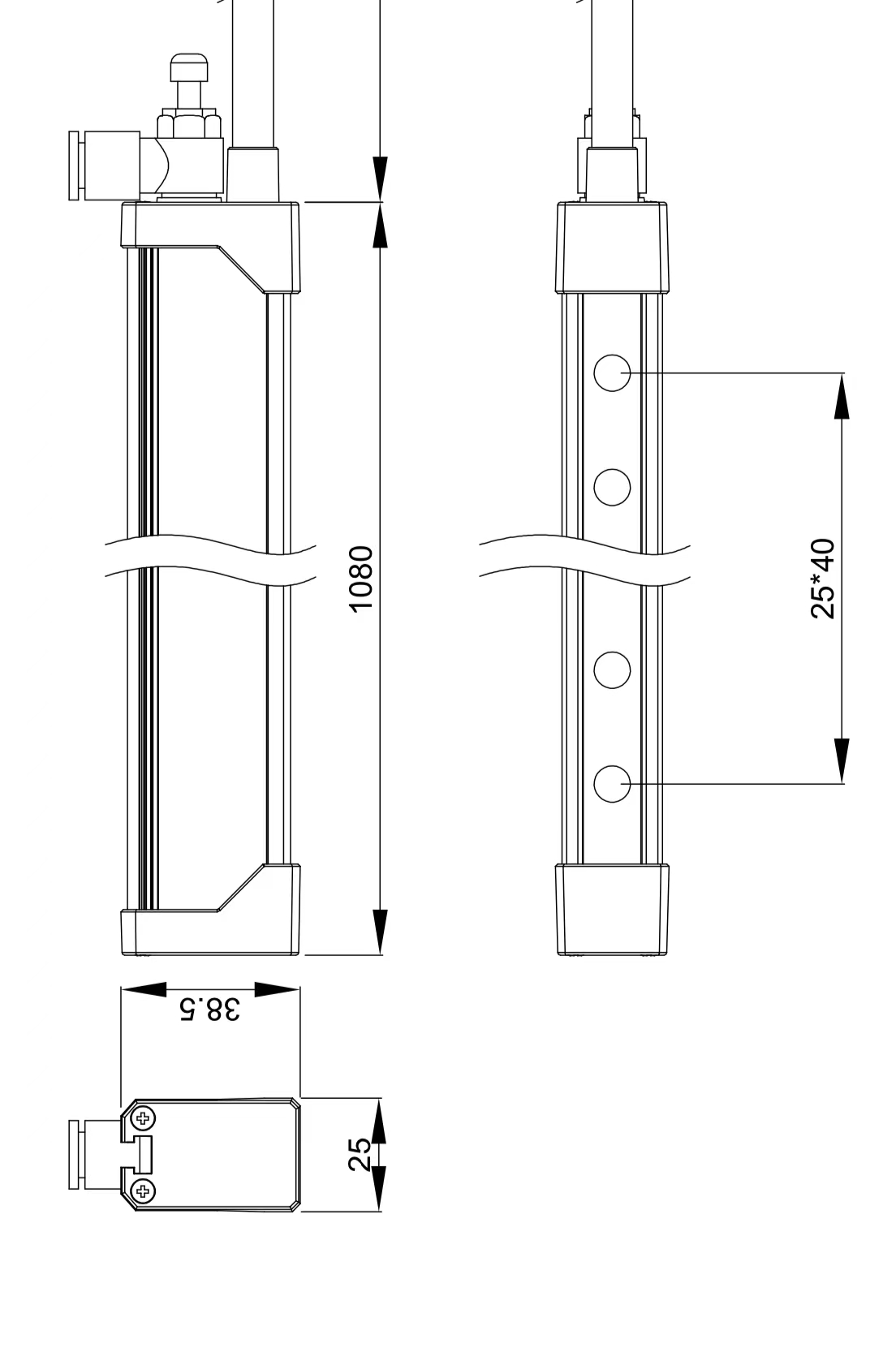
Wymiary F-56 N7
Opis

Listwa antystatyczna F56 to jonizator o szybkiej i wydajnej eliminacji ładunku elektrostatycznego w wielu aplikacjach – folia, tekstylia, tworzywa sztuczne, poligrafia itp. Używanie produktu nie grozi porażeniem prądem -  jest bezpieczne w użyciu. Warstwa izolacyjna igły wyładowczej jest uszczelniona klejem żywicznym, który może być stosowany w różnych trudnych warunkach , takich jak: zakurzenie, zapylenie, znaczna wilgotność i inne środowiska pracy. Listwa antystatyczna F56 musi być używana razem z zasilaczem wysokiego napięcia.

Listwa posiada zawór, umożliwiający podłączenie sprężonego powietrza. Zwiększa się wtedy zarówno szybkość jak i zasięg neutralizacji jonizatora do 100cm. Dodatkowo powietrze może usuwać drobne zanieczyszczenia z powierzchni naelektryzowanych powierzchni. Bez podłączenia sprężonego powietrza zakres działania jest znacznie mniejszy i wynosi maks 10cm.

Parametry techniczne:

Napięcie: AC7KV
Technologia jonizacji: Technologia jonizacji prądu przemiennego AC
Statyczny czas rozpraszania: ± 1000 V ~ ± 100 V, odległość 15 cm, mniej niż 0,4 sekundy.
Odległość robocza: 1- 10cm i z podłączonym powietrzem: 5-100 cm, odległość robocza, jaką ciśnienie powietrza może osiągnąć między 0,6-0,8 MPa
Gaz: czyste, suche sprężone powietrze
Zakres ciśnienia powietrza: 0,6-0,8 MPa
Materiał obudowy: stop aluminium
Rozmiar zewnętrzny: 25 (w) mm X37 (H) mm
Długość: 100-2300 MM (można dostosować)
Długość kabla wysokiego napięcia: standard 3 metry
Temperatura i wilgotność robocza: 0 ° C ~ 40 ° C 30 ~ 70% RH
Ilość ozonu: <0,03 PPM
Gwarancja: Roczna gwarancja.
Spełnia standardy jonizacji ANSI / ESD-STM3.1-2006, CE

Przykładowe zużycie powietrza dla listwy 150cm i ciśnieniu 0,6Mpa to ok. 3500 l/h.

O firmie

Dostarczamy urządzenia do eliminacji ładunków elektrostatycznych od 2004r. Bardzo szeroki wachlarz produktów: od rozwiązań budżetowych do najbardziej zaawansowanych. Jakość gwarantowana.

88-200 Radziejów, Chopina 13,

+48 795 223 977

kontakt@jonizator-dejonizator.pl